Рассоединение электрических разъемов системы SRS
Поверните ключ замка зажигания в положение OFF и снимите провод «массы» с аккумуляторной батареи. После этого должно пройти не менее 3 минут до начала работы.
- Перед отсоединением разъема 4Р поворотного контактора (1), необходимо отсоединить 4-контактный разъем (4Р) передней подушки безопасности водителя (2).
- Перед отсоединением разъема В блока SRS от блока SRS, отсоедините оба 4Р разъема натяжителя ремня безопасности и оба 4Р разъема натяжителя внешней петли ремня безопасности (3, 4, 5, 6).
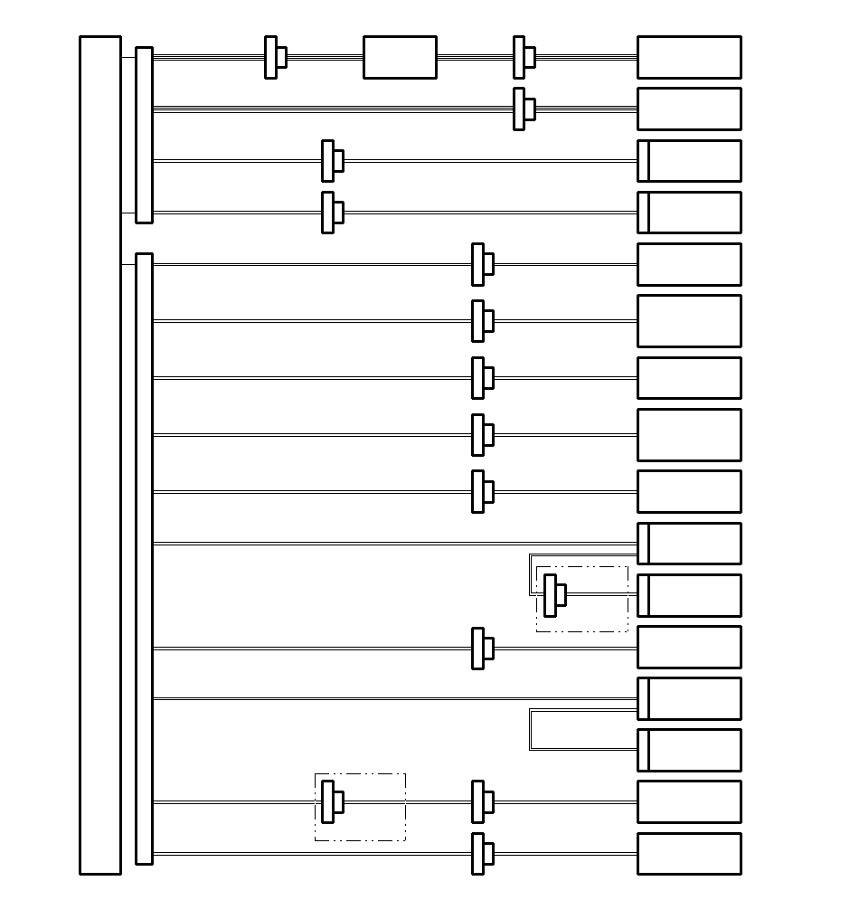
BA6СОЕДИНИТЕЛЬНЫЕ ПРОВОДА53421ЖГУТ ПРОВОДОВ ПАНЕЛИ УПРАВЛЕНИЯЖГУТ ПРОВОДОВ ПАНЕЛИ УПРАВЛЕНИЯЖГУТ ПРОВОДОВ ПАНЕЛИ УПРАВЛЕНИЯЖГУТ ПРОВОДОВ ПАНЕЛИ УПРАВЛЕНИЯЖГУТ ПРОВОДОВ МОТОРНОГО ОТСЕКАЖГУТ ПРОВОДОВ ПОЛАБЛОК SRSПОДУШКА БЕЗОПАСНОСТИ ВОДИТЕЛЯПОДУШКАБЕЗОПАСНОСТИ ПЕРЕДНЕГО ПАССАЖИРАПРАВЫЙ ПЕРЕДНИЙДАТЧИКУДАРАЛЕВЫЙ ПЕРЕДНИЙДАТЧИКУДАРАНАТЯЖИТЕЛЬ ПРАВОГО БОКОВОГО РЕМНЯ БЕЗОПАСНОСТИПРАВЫЙ БОКОВОЙ НАТЯЖИТЕЛЬ ВНЕШНЕЙ ПЕТЛИ РЕМНЯ БЕЗОПАСНОСТИНАТЯЖИТЕЛЬ ЛЕВОГО БОКОВОГО РЕМНЯ БЕЗОПАСНОСТИПРАВАЯ БОКОВАЯ ПОДУШКА БЕЗОПАСНОСТИПРАВЫЙ БОКОВОЙ ДАТЧИКУДАРА (ПЕРВЫЙ)ПРАВАЯ БОКОВАЯ ШТОРКА БЕЗОПАСНОСТИЛЕВЫЙ БОКОВОЙ ДАТЧИК УДАРА (ВТОРОЙ)ЖГУТ ПРОВОДОВ МОТОРНОГО ОТСЕКАЛЕВЫЙ БОКОВОЙ НАТЯЖИТЕЛЬ ВНЕШНЕЙ ПЕТЛИ РЕМНЯ БЕЗОПАСНОСТИЛЕВАЯ БОКОВАЯ ПОДУШКА БЕЗОПАСНОСТИЛЕВЫЙ БОКОВОЙ ДАТЧИК УДАРА (ПЕРВЫЙ)ЖГУТ ПРОВОДОВ ПОЛАПРАВЫЙ БОКОВОЙ ДАТЧИК УДАРА (ВТОРОЙ)ЛЕВАЯ БОКОВАЯ ШТОРКА БЕЗОПАСНОСТИ
| 1. | Отсоедините отрицательный провод от аккумулятора и подождите не менее трех минут. |
Подушка безопасности водителя
| 2. |
Снимите панель доступа (А) с рулевого колеса, затем отсоедините 4-контактный разъем (4Р) подушки безопасности водителя (В) от разъема поворотного контактора. BA |
Подушка безопасности переднего пассажира
| 3. |
Снимите перчаточный ящик, отсоедините 4-контактный разъем (4Р) подушки безопасности переднего пассажира (А) от разъема на жгуте проводов панели управления. A |
Что такое расширение файла SRS?
Общие проблемы с открытием файлов SRS
Microsoft Outlook не установлен
Дважды щелкнув по файлу SRS вы можете увидеть системное диалоговое окно, в котором сообщается «Не удается открыть этот тип файла». В этом случае обычно это связано с тем, что на вашем компьютере не установлено Microsoft Outlook для %%os%%. Так как ваша операционная система не знает, что делать с этим файлом, вы не сможете открыть его дважды щелкнув на него.
Совет: Если вам извстна другая программа, которая может открыть файл SRS, вы можете попробовать открыть данный файл, выбрав это приложение из списка возможных программ.
Установлена неправильная версия Microsoft Outlook
В некоторых случаях у вас может быть более новая (или более старая) версия файла Outlook Send/Receive Settings File, не поддерживаемая установленной версией приложения. При отсутствии правильной версии ПО Microsoft Outlook (или любой из других программ, перечисленных выше), может потребоваться загрузить другую версию ПО или одного из других прикладных программных средств, перечисленных выше. Такая проблема чаще всего возникает при работе в более старой версии прикладного программного средства с файлом, созданным в более новой версии, который старая версия не может распознать.
Совет: Иногда вы можете получить общее представление о версии файла SRS, щелкнув правой кнопкой мыши на файл, а затем выбрав «Свойства» (Windows) или «Получить информацию» (Mac OSX).
Резюме: В любом случае, большинство проблем, возникающих во время открытия файлов SRS, связаны с отсутствием на вашем компьютере установленного правильного прикладного программного средства.
Установить необязательные продукты — FileViewPro (Solvusoft) | Лицензия | Политика защиты личных сведений | Условия | Удаление
Другие причины проблем с открытием файлов SRS
Даже если на вашем компьютере уже установлено Microsoft Outlook или другое программное обеспечение, связанное с SRS, вы все равно можете столкнуться с проблемами во время открытия файлов Outlook Send/Receive Settings File. Если проблемы открытия файлов SRS до сих пор не устранены, возможно, причина кроется в других проблемах, не позволяющих открыть эти файлы. Такие проблемы включают (представлены в порядке от наиболее до наименее распространенных):
- Неверные ссылки на файлы SRS в реестре Windows («телефонная книга» операционной системы Windows)
- Случайное удаление описания файла SRS в реестре Windows
- Неполная или неправильная установка прикладного программного средства, связанного с форматом SRS
- Повреждение файла SRS (проблемы с самим файлом Outlook Send/Receive Settings File )
- Заражение SRS вредоносным ПО
- Повреждены или устарели драйверы устройств оборудования, связанного с файлом SRS
- Отсутствие на компьютере достаточных системных ресурсов для открытия формата Outlook Send/Receive Settings File
Если случился фронтальный удар
Если произошел, не дай БОГ, фронтальный удар, то есть спереди, то приводятся, в зависимости от силы столкновения, в движение некоторые устройства безопасности SRS. Могут сработать только натяжители ремней, могут только подушки безопасности, а могут сработать все элементы.
- Натяжители ремней безопасности.
- Airbags SRS (передние).
- Подушки безопасности в паре с натяжителями.
- Левая и правая подушка безопасности.
Чтобы степень защиты была максимальной, разработчики задали режим, при котором, если машина перешла отметку 60 км/час, то активизируются все устройства безопасности SRS системы.
Характеристика
SRS — что это? Данная система представляет собой комплекс элементов, устанавливаемых в автомобиле, которые позволяют уменьшить последствия дорожно-транспортных происшествий для водителя и пассажиров. По своей классификации SRS Airbag относится к конструктивным элементам безопасности. Это значит, что все ее компоненты устанавливаются не опционно (как это может быть в случае с кондиционером), а в обязательном порядке
И неважно, топовая это комплектация или «база», все равно обе машины будут содержать одинаковый набор устройств пассивной безопасности
Таким образом, SRS представляет собой совокупность конструктивных элементов, которые применяются для защиты пассажиров и водителя от травмирования при ДТП.
Рассоединение электрических разъемов системы SRS
Поверните ключ замка зажигания в положение OFF, снимите провод «массы» с аккумулятора и подождите не менее 3 минут до начала работы.
- Перед отсоединением разъема 4Р поворотного контактора (1), необходимо отсоединить 4-контактный разъем (4Р) передней подушки безопасности водителя (2).
- Перед отсоединением разъема В блока SRS от блока SRS, отсоедините оба 4Р разъема натяжителя ремня безопасности и натяжителя внешней петли ремня безопасности (3, 4, 5, 6).
(С ПРК)(С ПРК)6СОЕДИНИТЕЛЬНЫЕ ПРОВОДА5B3421ЖГУТ ПРОВОДОВ КОМБИНИРОВАННОГО ВЫКЛЮЧАТЕЛЯЖГУТ ПРОВОДОВ МОТОРНОГО ОТСЕКАЖГУТ ПРОВОДОВ ПОЛАБЛОК SRSПОДУШКА БЕЗОПАСНОСТИ ВОДИТЕЛЯПОДУШКА БЕЗОПАСНОСТИ ПЕРЕДНЕГО ПАССАЖИРАПРАВЫЙ ПЕРЕДНИЙ ДАТЧИКУДАРАЛЕВЫЙ ПЕРЕДНИЙ ДАТЧИКУДАРАНАТЯЖИТЕЛЬ ПРАВОГО БОКОВОГО РЕМНЯ БЕЗОПАСНОСТИПРАВЫЙ БОКОВОЙ НАТЯЖИТЕЛЬ ВНЕШНЕЙ ПЕТЛИ РЕМНЯ БЕЗОПАСНОСТИНАТЯЖИТЕЛЬ ЛЕВОГО БОКОВОГО РЕМНЯ БЕЗОПАСНОСТИПРАВАЯ БОКОВАЯ ПОДУШКА БЕЗОПАСНОСТИПРАВЫЙ БОКОВОЙ ДАТЧИКУДАРА (ПЕРВЫЙ)ПРАВАЯ БОКОВАЯ ШТОРКА БЕЗОПАСНОСТИЛЕВЫЙ БОКОВОЙ ДАТЧИК УДАРА (ВТОРОЙ)ЖГУТ ПРОВОДОВ МОТОРНОГО ОТСЕКАЛЕВЫЙ БОКОВОЙ НАТЯЖИТЕЛЬ ВНЕШНЕЙ ПЕТЛИ РЕМНЯ БЕЗОПАСНОСТИЛЕВАЯ БОКОВАЯ ПОДУШКА БЕЗОПАСНОСТИЛЕВЫЙ БОКОВОЙ ДАТЧИК УДАРА (ПЕРВЫЙ)ЖГУТ ПРОВОДОВ ПОЛАПРАВЫЙ БОКОВОЙ ДАТЧИК УДАРА (ВТОРОЙ)ЛЕВАЯ БОКОВАЯ ШТОРКА БЕЗОПАСНОСТИЖГУТ ПРОВОДОВ КОМБИНИРОВАННОГО ВЫКЛЮЧАТЕЛЯЖГУТ ПРОВОДОВ КОМБИНИРОВАННОГО ВЫКЛЮЧАТЕЛЯЖГУТ ПРОВОДОВ КОМБИНИРОВАННОГО ВЫКЛЮЧАТЕЛЯЖГУТ ПРОВОДОВ ПОЛАЖГУТ ПРОВОДОВ С ПРАВОЙ СТОРОНЫЖГУТ ПРОВОДОВ С ПРАВОЙ СТОРОНЫA
| 1. | Отсоедините отрицательный провод от аккумулятора и подождите не менее трех минут. |
Подушка безопасности водителя
| 2. |
Снимите панель доступа (А) с рулевого колеса, затем отсоедините 4-контактный разъем (4Р) подушки безопасности водителя (В) от разъема поворотного контактора.
|
Подушка безопасности переднего пассажира
| 3. |
Снимите вещевой ящик, затем отсоедините разъем 4Р подушки безопасности (А) переднего пассажира от жгута проводов панели управления.
|
Боковая шторка безопасности
| 5. | Снимите обивку крыши. |
| 6. |
Отсоедините 2Р разъем жгута проводов пола или 2Р разъем (А) правого жгута проводов от боковой подушки безопасности.
|
Оплата через PayPal
После выбора оплаты через PayPal запустится платежная система PayPal, где требуется выбрать способ оплаты банковская карта или аккаунт PayPal.
Если у Вас уже есть аккаунт PayPal, то Вам необходимо зайти в него и осуществить платеж.
Если у Вас нет аккаунта в PayPal, и Вы хотите оплатить с помощью банковской карты через PayPal, Вам необходимо нажать на кнопку «Create an Account (Создать аккаунт)» — на рисунке показано стрелочкой.
После чего PayPal предложит вам выбрать Вашу страну и указать данные кредитной карты.
После указания данных, необходимых для осуществления платежа, надо нажать на кнопку «Pay Now (Оплатить)».
Сиденья с встроенными боковыми подушками безопасности
Сиденья с встроенными боковыми подушками безопасности имеют обозначение «SIDE AIRBAG» на спинке. Элементы сидений (обивка,подушки и т.д.) со встроенными боковыми подушками безопасности отличаются от аналогичных элементов сидений, которые не оборудуются боковыми подушками безопасности. Поэтому убедитесь, что при замене вы устанавливаете подходящие запасные части.
ОБОЗНАЧЕНИЕ БОКОВОЙПОДУШКИ БЕЗОПАСНОСТИ
- Во время чистки салона не допускается намокание сидений, нельзя также применять пар для их чистки.
- Дефекты обивки сидений в виде разрывов и следов вытирания не подлежат ремонту. В этом случае необходимо заменить обивку.
- Если сработала боковая подушка безопасности, то необходимо заменить подушку и раму сиденья новыми деталями. Необходимо заменить подушку спинки сиденья в случае ее повреждения.
- Не допускается установка на сиденье дополнительных аксессуаров ( в виде чехлов, дополнительных подушек, обогревателей сидений, световых приборов и т.п.).
Скачивание книги
После успешного прохождения платежа (любым способом) и возврата в магазин KrutilVertel с сайта платежной системы Вы попадаете на страницу успешной оплаты:
Купленная Вами книга будет находиться в Вашем личном кабинете, откуда ее всегда можно будет скачать.
Обратите внимание, что после совершения оплаты, Вам необходимо вернуться обратно с сайта платежной системы на сайт KrutilVertel. В случае, если по каким либо причинам Вы не вернулись обратно на сайт и закрыли вкладку платежной системы с сообщением про успешное прохождение платежа, сообщите нам об этом — мы вышлем Вам письмо в котором будет указан доступ для скачивания книги
В случае, если по каким либо причинам Вы не вернулись обратно на сайт и закрыли вкладку платежной системы с сообщением про успешное прохождение платежа, сообщите нам об этом — мы вышлем Вам письмо в котором будет указан доступ для скачивания книги.
Проблемы при оплате банковскими картами
Иногда при оплате банковскими картами Visa / MasterCard могут возникать трудности. Самые распространенные из них:
- На карте стоит ограничение на оплату покупок в интернет
- Пластиковая карта не предназначена для совершения платежей в интернет.
- Пластиковая карта не активирована для совершения платежей в интернет.
- Недостаточно средств на пластиковой карте.
Для того что бы решить эти проблемы необходимо позвонить или написать в техническую поддержку банка в котором Вы обслуживаетесь. Специалисты банка помогут их решить и совершить оплату.
Вот, в принципе, и все. Весь процесс оплаты книги в формате PDF по ремонту автомобиля на нашем сайте занимает 1-2 минуты.
Если у Вас остались какие-либо вопросы, вы можете их задать, воспользовавшись формой обратной связи, или написать нам письмо на info@krutilvertel.com.
Как работает SRS
Следует заметить, что система SRS отличается очень высокой скоростью срабатывания, и именно это позволяет ей сохранить здоровье, а порой и жизнь водителя и пассажиров транспортного средства в случае серьезных аварий. Когда автомобиль, движущийся со скоростью более 50 км/ч, сталкивается с каким-либо препятствием, срабатывает инерционный датчик. Он замыкает электрическую цепь, в результате чего управляющий сигнал поступает в главный модуль SRS. Через него он транслируется в модули подушек безопасности, в результате чего они срабатывают в течение 300 миллисекунд.
Одновременно с этим сигнал через главный модуль системы SRS поступает и на преднатяжители ремней, а также к активным подголовникам. В результате этого ремни безопасности моментально натягиваются сильнее, чтобы человек не двигался вперед по инерции, а оставался на месте. Что касается активных подголовников, то в целях предотвращения так называемых хлыстовых травм шеи они перемещаются вперед.
Следует заметить, что главный модуль SRS, получив сигнал срабатывания от датчика ускорения, отправляет его и на центральный замок автомобиля. Это делается для разблокировки дверей и обеспечения свободного доступа в машину спасателей.
Статья в тему: Греть или не греть двигатель зимой перед началом движения
Система SRS автомобиля настраивается таким образом, чтобы ее срабатывание происходило только в действительно экстренных ситуациях. Она не срабатывает, к примеру, при столкновении с кустами или снежными сугробами. Если же она регистрирует удар сзади, то сигнал на срабатывание направляется только на активные подголовники, а если удар следует сбоку, то срабатывают только боковые подушки безопасности (в тех случаях, разумеется, если они установлены на данном автомобиле).











AB
A
A




























